获取手机验证码

图形验证码

确定
免费试用
QQ咨询
电话咨询

售前咨询:400-880-6885

售后服务:18521946661

在线咨询
开发流程
注意事项
用户业务试用指南
API接口文档
接口文档下载
Java-API-Demo
PHP-API-Demo
Python-API-Demo
ASP.NET-API-Demo
错误编码

开发指南

开发流程

开发流程图

接口开发流程关系图,云通讯赋能平台对坐席外呼以及进线流程分析图,此关系图可清晰说明开发流向,方便第三方平台快速了解云电销系统赋能平台,如有疑问可直接联系相关技术人员沟通;

接口调用顺序参考图

技术支持

请拨打400电话或从网页中的入口联系我们咨询相关业务
若需要可给您安排客户经理务
开发过程请查看文档,我们还提供在线技术支持来解决您可能遇到的问题并协助您使用;

获取测试账号

在明确需求后跟客户经理申请测试账号,用于后期的开发测试使用
测试账号使用期限为15天,到期后将会暂停使用,请提前跟客户经理做延期处理;

开发测试

在测试账号上,根据自己的需求,进行功能点的开发测试工作
在开发测试期间会有专门负责进行对接的技术人员跟进开发进度、解决中途遇到的电销系统对接问题;

正式使用

开发测试完成后,跟客户经理开通正式环境账号,把功能点迁移到正式账户上;
使用过程中遇到售后、故障等相关问题可通过400电话或客户经理联系我们;

注意事项

加密检测工具

加密地址检测工具推荐使用站长工具:http://tool.chinaz.com/tools/md5.aspx

测试工具

测试工具推荐使用Fiddler,可自行去百度下载相关插件

请求格式如下,如有疑问可联系相关技术人员协助处理

用户指南

用户业务使用指南

一、创建应用

创建应用是开发者的首要任务,只有创建好任务后,才可通过应用来归类相关外呼任务,可对该应用进行设置,包括该应用的回调地址、进线推送等;

注意事项:

1、当应用未审核通过时,此应用不可使用;
2、应用申请上线通过后方可正式使用;
3、无应用时可通过【创建应用】来创建使用;
4、应用余额可通过【应用管理】进行充值;
5、当前应用余额不足时则不能进行外呼、进线;

二、号码列表

开发者拿到号码后方可创建坐席进行外呼操作,号码申请成功后,平台自动会添加到对应应用下;

注意事项:

1、号码必须在应用上线审核完成后才可使用;
2、每个应用对应的号码只能被该应用下坐席使用;
3、号码被投诉后则立即被关停,恢复时间待定;

三、创建坐席

创建坐席成功后方可直接外呼、调用接口外呼,如坐席被关停或非正常时则不能进行外呼、呼入操作;

注意事项:

1、坐席只能在指定应用下创建;
2、如果应用列表为空,请先【创建应用】;
3、请严格按照坐席创建模版上传文件,下载坐席创建模版;
4、模板中号码必须是存在于号码列表中对应应用下号码,否则,创建失败;
5、号码被关停后,只能通过接口更改外显号码;
6、创建坐席后会立即扣除该坐席对应费用,请谨慎增加坐席;

四、账号充值

充值说明:

1、我们提供在线充值服务(支付宝、银联)及银行对公汇款;
2、请尽量保障账户余额大于您在资费配置内设置的保底套餐额度,避免因余额不足造成业务中断;

五、话单详情

根据相关条件可直接在平台查看相关话单详情,也可通过接口来获取相关话单信息,以保存第三方自有平台进行后期统计分析;

开发文档

API接口文档

一、介绍

1.1 Base URL

文档中所被引用的Base URL地址都可在平台开发者主账号信息里查看;

1.2 统一请求包头

1.3 HTTP 标准报头字段(必填)

Accept:application/json;
Content-Type:application/json;charset=utf-8;
Authorization:NGJjMzM0Nzk2M2IwMDdjZDI1N1mQ8YTQyNGU3MjE6xNzA1MDUxODAwNDM
各属性说明如下:
1)Sig, REST API 验证参数:
a) Sig 是 URL 必带参数,baseurl?Sig={$Sig};
b) 使用 MD5 进行 Hash 运算(32位大写):Sig = MD5(账户授权ID:应用ID:时间戳),转成大写,时间戳是当前系统时间(24小时制),格式:yyyyMMddHHmmss;
2)Authorization:报头验证信息:
a) Auth=Base64(应用ID:应用Token:时间戳),用base64编码;应用ID与Sig中相同;
3) 时间戳是当前系统时间(24小时制),格式: yyyyMMddHHmmss;
4) Content-Type:
a) 数据包主流格式:Json,Content-Type 为Application/json; charset=utf-8;
b) 与此相对应, Accept对应等于Application/json。

二、云电销系统赋能平台API接口

坐席外呼

用于客户调用此接口实现话机呼叫到被叫号码;通过本接口,第三方平台可以给云电销系统赋能平台发送呼叫请求,平台分别先后呼叫座席和客户,并把双方接通以实现双方正常通话;

2.1 请求方法

2.2 请求参数说明

2.3 响应参数明

2.4 响应参数说明

2.5 注意事项

1、坐席外呼首先保证坐席正常登陆,否则不能进行外呼功能;
2、确保该坐席对应应用余额正常;
3、检查应用是否正常;
4、前提是进行外呼的座席必须在线,否则无法进行外呼;
5、呼叫过程中会先呼叫座席,座席接听后系统会呼叫客户;

接口文档下载

小号AX模式开发文档

隐私保护通话AX模式中,A为业务受益用户,为了保护A的真实号码不被泄露,在隐私保护通话平台为A绑定一个虚拟号码X,A用户对外只呈现X号码,所有与A用户建立的通信都是通过X号码建立。AX模式下的X号码只专属于A号码,即一个虚拟号码X只能绑定一个A号码,当X号码和A号码解除绑定关系后,该X号码可以被回收,供其他号码绑定。
具体开发接口信息请参考

小号AXB模式开发文档

隐私保护通话AXB模式中,A和B为相互保密的两个业务受益用户,A和B用户都不知道对方真实号码的存在,为了双方的真实号码不被泄露,在隐私保护通话平台为A和B用户绑定一个虚拟号码X,A和B用户对外只呈现X号码,A和B之间的通信都是通过X号码进行转接。此时,A、B以外的其他号码拨打X,则无法接通。 AXB模式下X号码允许被多组号码进行绑定,多组号码中的A和B号码不能重复。当X号码和A、B号码解除绑定关系后,该X号码可以被回收,供其他号码绑定。
具体开发接口信息请参考

点击回呼开发文档

用户Jack在浏览网站时,通过应用软件呼叫客服人员,呼叫请求上报至RTC业务平台。RTC业务平台分别呼叫主叫Jack和客服Sophia,使主叫和被叫互相通话。
具体开发接口信息请参考

电销系统开发文档

电销系统,可外显我方申请的云固话号码,外呼接口需要与相关软电话、IP话机相配合使用,适用于互联网实现企业电话;
具体开发接口信息请参考

开发实例

Java-API-Demo

Java相关实例

PHP-API-Demo

PHP相关实例

Python-API-Demo

Python相关实例

ASP.NET-API-Demo

ASP.NET相关实例

相关问题

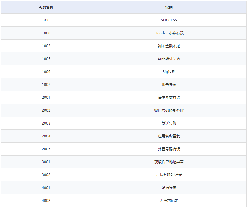
错误编码说明

API接口调用时异常返回值参数对应说明表;

超10000+ 企业,10万sales正在使用中!

免费申请加盟

温馨提示:我们将在您提交信息后的30分钟内与您取得联系,请您保持电话通畅,谢谢!